KHP-1矿用带式输送机保护装置

1、概述
1.1
KHP-1矿用带式输送机综合保护装置是根据国家煤炭部关于完善井下带式运输机保护的有关文件的要求而进行设计的,在进行了大量的井下实地调查及试验后,对现有的带式机综合保护器进行了优化和改进;同时听取了大量的用户意见,使本装置的可靠性、密封性和操作方便性与现有同类产品相比较都有了不同程度的提高。
1.2 本装置适用于具有爆炸性气体和煤尘的煤矿井下、露天煤矿、选煤厂的胶带运输系统中,有以下几个特点:
a.本产品具有语音故障报警和发光二极管显示功能。
b.该装置在传感器方面尽可能地使用无源传感器,大大方便了安装、同时也增强了装置的抗干扰性能。
c.本装置增强了静噪电路使声音更加清晰、洪亮、无背景噪声。
d.本装置的保护功能有煤位、跑偏、低速、温度、烟雾、急停、撕裂保护。也可配接电磁阀实现超温洒水功能。
1.3 执行标准:MT872-2000 煤矿用带式输送机保护装置技术条件
Q/HSJ09-2008 KHP-1矿用带式输送机保护装置
2、 适用环境条件
a. 大气压力:80kPa~110kPa ;
b. 环境温度:0℃~40℃;
c. 平均相对湿度≤95%(25℃);
d. 具有甲烷、煤尘爆炸性混合物的煤矿井下;
e. 无足以腐蚀破坏金属壳体及电器绝缘性的气体;
型号及含义

4、主机技术参数
4.1 额定输入电压: AC127/AC36V;
4.2 最大工作电流:0.15A/0.5A;
4.3 主机本安参数
a.U0:DC12V I0:550mA L0:0.5mH C0:0.1μF
b.短路电流稳定值:20mA
c.过流保护动作值:550mA;
4.4保护功能
a、速度保护特性:
当输送带速度在10s内均在(50%--70%)Ve(Ve为额定带速)范围内,或输送带速度等于小于50%Ve时,或输送带速度大于等于110%Ve时,速度保护装置应报警,同时中止带式输送机的运行。对带式输送机正常起动和停止造成的速度变化,装置不应有保护动作。速度保护应采用反时限特性。
b、堆煤保护特性:
当煤位传感器的探杆在2s内连续检测到煤位超过预定位置,此时探杆偏转角度达15°±3°,装置2s内应报警,同时中止带式输送机的运行,其触杆动作力:≤9.8N。
c、跑偏保护性能:
当运行的输送带超出托辊端部边缘20mm时,此时跑偏传感器探杆的偏转角度达20°±3°,装置在(5~20)s内应报警,同时中止带式输送机的运行,探杆动作力:20N~100N。
d、超温保护特性
测温点与离监测点发热点处距离为(10~15)mm,在测温点处的温度超过设定值42℃±2℃时,装置2s内应报警,并中止带式输送机的运行,同时能启动防爆电磁阀,喷水降温。
e、烟雾保护特性:
连续2s内,当被测的环境中烟雾浓度>0.1mg/m3时;装置2s内应报警,同时中止带式输送机的运行。
f、撕裂保护特性:
运行的输送带纵向撕裂,洒在撕裂传感器上的煤≥30Kg/㎡时,装置2s内应报警,同时中止带式输送机的运行;
g、急停开关保护特性
急停开关在任一边的拉环上施加40N~90N的力时;装置2s内应报警,同时中止带式输送机的运行,并能自锁和复位。
5、结构
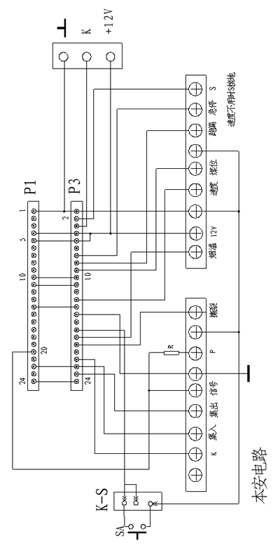
5.1 装置由主机及各种传感器组成。主机是装置的重要部件由隔爆箱和本安箱两部分组成。
5.2 隔爆箱装有电源变压器,本安电源电路板,其左侧为COM,127V ,36V,A3~A4,为防爆开关的引入端。其中,COM,127V ,36V,为127V(36V)电源引入端,A3~A4为控制继电器常开点引出端,用来控制防爆开关启停。
右侧提供两组继电器,常开点B1~B2,B3~B4,其中B1~B2在A3~A4吸合3秒后吸合,用于带抱闸电机实现程序控制,B3~B4用于外接电磁阀,当出现超温或有烟时,其动作,驱动电磁阀洒水。
5.3本安腔在隔爆腔下部,并与隔爆腔固定成一体,本安腔下部有与各种探头连接的接线端子。本安腔内有显控板和功放板以及喇叭等。操纵按钮板固定在本安腔的盖板上,点动其盖板上的橡胶垫即可实现其功能。在显控板上设有撕裂(红)、烟温(绿)、煤位(红)、速度(红、绿),急停(绿)跑偏(红)7只发光二极管,可通过其盖板的观察窗观察其各种传感器的保护状态和速度传感器的运行状态。速度显示灯有红绿两只,当皮带机正常运行时,绿灯有与滚筒转动频率同步的闪烁信号;当出现低速或打滑时,绿灯灭红灯亮,喇叭开始报警,并且A3~A4接点断开,电机停止工作。
5.4在每次启车前,有5~7秒的预警延时,用于警示查修或清理故障的人员注意安全。
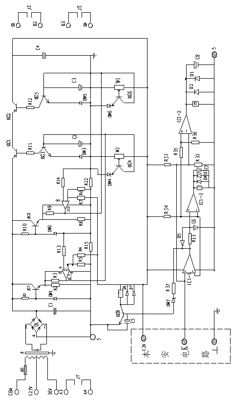
6 、工作原理
6.1
外部送来的交流127V或36V电源经熔断器送到变压器,变压器输出交流18V电压,供给本安电路及各种传感器。控制箱中主控板送来的控制信号控制本安电路板上的执行继电器、洒水电磁阀控制继电器的吸合或释放。执行继电器的输出接点接至主电机起动器内部以控制皮带机的运行,洒水电磁阀控制继电器输出接点接至电磁阀控制超温自动洒水主机的动作。
6.2 外部传感器送来的开关量信号经接口电路,输入信号为低电平时输出控制信号控制执行继电器动作,同时发出相应的信号至语音芯片,语音信号经功放电路放大后驱动扬声器报警。
7、安装与调试
装置安装用的电缆为三芯或四芯的阻燃橡套电缆,本安腔接传感器用外径为φ6~10mm电缆,电源部分用外径为φ10~14mm电缆。
7.1 主机的安装:主机的接线分电源腔和控制腔两部分。
7.1.1电源腔的接线方法:打开隔爆箱,按图2接线。
图2 电源腔接线图

7.1.2 本安控制腔的接线:本安控制腔的接线板上都有文字说明,可以直接与相应的传感器连接,除烟雾,转速传感器和温度传感器以外,其它均为无源传感器。
7.2 传感器的安装:(速度和烟温传感器用3芯线缆连接,其余为2芯线缆)
7.2.1 转速传感器的安装:将转速传感器固定在皮带机机头大梁上,调整好转速传感器滚轮与皮带机胶带之间的距离,使转速传感器滚轮紧靠皮带机胶带见图(3),皮带机空载起动后皮带机胶带即可带动转速传感器滚轮转动。

(1)皮带机胶带 (2)转速传感器
图3 速度传感器安装图
7.2.2 煤位传感器的安装:煤位传感器安装在煤仓或机头上方,用于检测煤仓或机头煤位高度。当煤位达到一定高度时,煤触及煤位传感器的触头并推动触头偏离中心线,动作摆角大于15°时,延时2秒停车。同时,对应状态指示灯绿灯亮。具体安装方法见图4。

图4 煤位传感器、跑偏传感器和急停开关的安装图
7.2.3 跑偏传感器的安装:利用其常开触点接入主机接线腔内的“跑偏”和“┻”端子上。将其传感器固定在皮带机机架的两边,角度和安装距离视现场情况可适当调整。当皮带跑偏导致传感器动作时,则输送机停车,同时跑偏状态指示灯绿灯亮。具体安装方法见图4。
7.2.4
急停开关的安装:该急停开关为主机提供一组常开点,若干个急停开关常开点串接后接入主机的“急停”和“┻”端子上,实现沿线紧急停车功能。急停开关动作停车后,对应状态指示灯红灯亮。注意:急停开关动作后必须手动复位方能正常工作。急停开关的安装方法是将其固定在皮带机一侧的机架上,并用拉绳把拉杆环逐个连接。具体安装方法见图4。
7.2.5 温度传感器的安装:采用集成感温探头,正常情况下,对应状态指示灯红灯灭:当动作时,红灯亮,同时输出一个低电平信号给主机,使其动作。具体安装方法见图5。
7.2.6
烟雾传感器的安装:上电后,其绿灯亮,传感器处于初始化状态,不能进行检测,等5~10分钟后绿灯灭,表示检测探头预热结束,进入检测状态。无烟时其输出高电位,有烟时输出低电位。烟雾传感器吊挂在检测点的下风侧,吊挂高度距离重载皮带上平面0.5~2.5米。吊挂处不应有淋水及严重粉尘。具体安装方法见图5。

7.2.7 洒水安装:将电磁阀固定于两滚筒轴线中间的皮带大梁(即槽钢)上,其出水管贴大梁内侧直下至两主滚筒之间,接出喷头,以喷水能喷至两滚筒上为准,具体安装方法见图5。
图5温度传感器、烟雾传感器和洒水装置的安装图
7.2.8 撕裂传感器的安装:将撕裂传感器固定在皮带机大梁上,具体安装方法见图6,

图
图6 撕裂传感器的安装图
7.2.9 多台装置集控的接线如下:

安装注意事项:
(1)单台使用或集控时首台机“K”接“集入”。
(2)单台使用或多台通话时,末台的“P”端子接“┻”。
8.3 调试
8.3.1 安装好以后检查电源、传感器接线以及电源腔内“36V~127V”转换开关所在位置是否无误,本安腔内接线端子的“K—集入”和“P— ┻”的短接线是否接好,确认无误后盖好盖板。
8.3.2 送电后速度指示灯亮,表示直流12V正常,按信号按钮XA,所有喇叭应有电笛信号。
8.3.3 按下启动按钮QA,数码显示应为“0”,同时预警起动,5~7秒后预警结束,电机启动显示为“1”且速度指示灯在闪亮,在自保延时20秒后,速度检测电路才能正常工作。按下停止按钮TA应能立即停止。
8.3.4 启动后,自保延时过后,按下试验按钮,速度应保护,同时停止,且声光报警。检查各传感器的动作性能(各传感器均为低电平有效。)
9.常见故障及处理方法
井下维修为了安全和不影响生产一般采用更换插件的方法,较为简便。
地面维修可参看下表:

10、使用注意事项
10.1 使用中应定期对设备进行检查,发现故障及时处理或更换,隔爆腔盖打开时,必须注意“先断电源后开盖”。
10.2维修时应注意防止”失爆”(保护隔爆面;注意紧固件和装置里的橡胶密封圈).
10.3检修时不得改变本安电路和与本安电路有关电子元器件的规格型号及电气参数。
10.4严禁更改装置配置表中的设备!
10.5进线嘴不使用时必须按要求封堵。
11、随机文件
装箱单、产品合格证及使用说明书各一份
装置接线图






